-
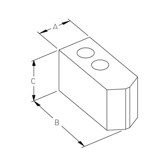
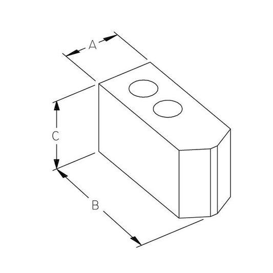
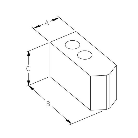
Precision A-2 Tool Steel Blank QC Top Jaws for PPC210 Chuck
Brand: MicroCentric Corp.Regular price $129.99Regular priceUnit price perSold out -
DIN EN10338 Cold Rolled Multiphase Steel
Brand: MST Steel Corp.Regular price $39.99Regular priceUnit price perSold out -
Precision Blank QC Top Jaws for PPC250 Chucks
Brand: MicroCentric Corp.Regular price $79.99Regular priceUnit price perSold out -
Precision Blank QC Top Jaws for Chuck PPC165
Brand: MicroCentric Corp.Regular price $59.99Regular priceUnit price perSold out -
DME34 Series DC Motor with Gearbox 50G
Brand: Elinco International JPC, Inc.Regular price $129.99Regular priceUnit price perSold out -
DIN EN10338 Cold Rolled Multiphase Steel Coil & Sheet
Brand: MST Steel Corp.Regular price $49.99Regular priceUnit price perSold out -
Ford WSS-M1A341 Bake Hardened Steel
Brand: MST Steel Corp.Regular price $49.99Regular priceUnit price perSold out -
Ford WSS-M1A341 Dent Resistant Steel
Brand: MST Steel Corp.Regular price $59.99Regular priceUnit price perSold out -
Ford WSS-M1A341 Bake Hardened Steel
Brand: MST Steel Corp.Regular price $49.99Regular priceUnit price perSold out -
Ford WSS-M1A341 Dent Resistant Steel Coil | Sheet
Brand: MST Steel Corp.Regular price $59.99Regular priceUnit price perSold out -
Ford WSS-M1A341 Bake Hardened Steel DR250 Coil/Sheet
Brand: MST Steel Corp.Regular price $39.99Regular priceUnit price perSold out -
GMW3399M Cold Rolled Dual Phase Steel Coil & Sheet
Brand: MST Steel Corp.Regular price $49.99Regular priceUnit price perSold out -
GMW3399M Cold Rolled Dual Phase Steel Coil/Sheet - Grade DP600
Brand: MST Steel Corp.Regular price $45.99Regular priceUnit price perSold out -
16-14 AWG Spade Terminal Heat Shrink
Brand: SC Fastening SystemsRegular price $64.24Regular priceUnit price perSold out -
10-12 AWG Hook Terminal (#8 Stud) Non-Insulated Bare Butted Seam - Pack of 100, Yellow
Brand: SC Fastening SystemsRegular price $6.31Regular priceUnit price perSold out -
16-14 AWG Spade Terminal with 1/4 Stud, Nylon Insulation - Pack of 100
Brand: SC Fastening SystemsRegular price $15.99Regular priceUnit price perSold out