Carbon Steel USS Flat Washer, 1 1/4 in - Plain Finish
Carbon Steel USS Flat Washer, 1 1/4 in - Plain Finish
SKU:TRA-9b32d1
High-quality Carbon Steel USS Flat Washer with Plain finish for durable and secure structural connections.
Regular price
$14.99
Regular price
Sale price
$14.99
Unit price
per
Delivery via Maden
Expect your order to arrive on time.
Secure Payments
All orders are processed through a secure, PCI-compliant checkout.





The Carbon Steel USS Flat Washer in a Plain finish is a key component for securing structural connections with precision. Featuring a Wide Series design and a Size of 1 1/4 inches, this washer offers exceptional durability and weight-bearing capabilities. Crafted to meet the highest industry standards, this USS Flat Washer is ideal for a range of applications requiring reliable fastening solutions.
Product Specifications
Additional Information Additional Information
Photo based operating manual for conversion of machinePicture and text based fault diagnosisTeleservice for measuring and control system
Commutator Armature Commutator Armature Diameter
24 to 82 mm
Commutator Armature Commutator Armature Length
69 to 250 mm
Commutator Armature Commutator Armature Weight
0.1 to 2 kg
Commutator Armature Stack Height
12 to 65 mm
Correction Methods Correction Methods
Profile milling:Polar unbalance correction at the correct location, suitable for most applications.Polar slot-milling:The milling spindle with twin cutter is displaced axially to shift the effect of the milling operation to the polar direction of the unbalance.Slot-milling:A variable method for quasi-polar or component correction. High flexibility through employment of single or multiple cutters and adaptation of the component angle.All correction methods can be used for armatures with inclined or straight stack slots. In addition to material removal by plunge milling, weight removal can be increased by controlled axial cutter advancing.
Design Design
Four-station machine with fully automatic sequence of operations. Station-to-station transfer and integration with peripheral equipment through integrated rotary transfer system.Work-pieces can be delivered to the machine by conveyor belt or on pallets.
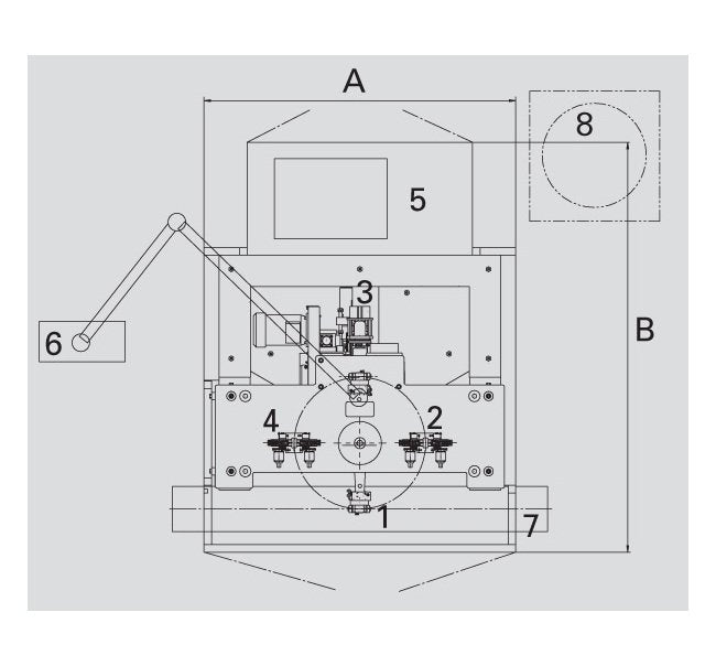
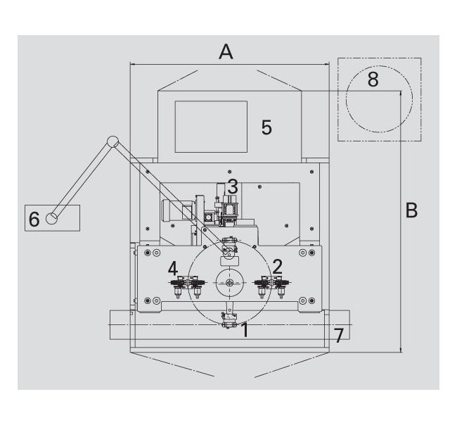
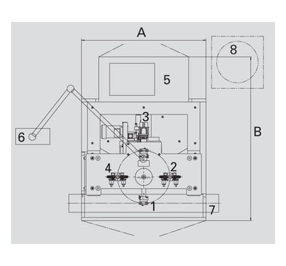
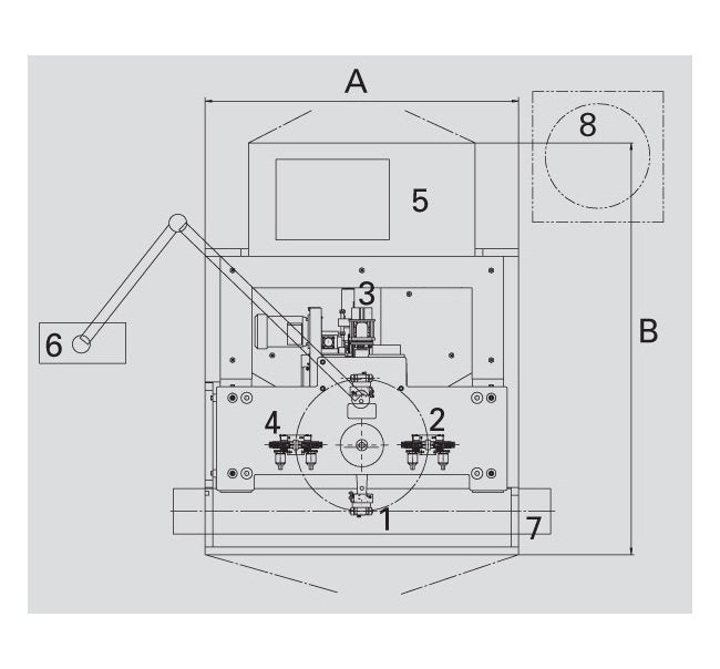
Machine Machine Depth B
2700 mm
Machine Machine Height C
2780 mm
Machine Machine Width A
1720 mm
Machine Note For Machine Dimensions
Data non-binding, dependent on the respective equipment supplied
Options Axial Clamping In The Milling Station Order Number
R0190109.01
Options Chip Extractor Order Number
R0190104.01
Options Measuring Unit Order Number Cab 850
R0190101.01
Options Options
Axial Clamping in the Milling Station | Chip-Extractor | Compact Swiveling Gripper | Measuring Unit (CAB 850) | Pneumatic Sliding Spindle | Unloading Equipment with OT Belt
Options Unloading Equipment Order Number With Ot Belt
R0190107.01
Range Of Application Range Of Application
Measurement and correction of unbalance of armatures of various sizes.Application of the machine in production lines for large rotor volumes.Unbalance correction by milling into the stack (profile/slot milling) in one or two planes.
Technical Data Achievable Tolerance
0.4 g/mm
Technical Data Air Consumption
2.5 m³/h
Technical Data Air Pressure
450 kPa
Technical Data Balancing Speed
1500 to 2100 min-1
Technical Data Basic Machine Order Number
R0190100.01
Technical Data Benefits
Polar profile milling
Technical Data Brands
SCHENCK
Technical Data Change Over Time
5 to 15 min
Technical Data Cycle Time Axial Milling
6 to 8 seconds
Technical Data Cycle Time Plunge Milling
6 seconds
Technical Data Measuring Uncertainty
0.02 to 0.1 g/mm
Technical Data Measuring Unit
CAB 850
Technical Data Power Consumption
10 kV·A