Centurion Polaris Z106P Watertight Aluminum Case
Centurion Polaris Z106P Watertight Aluminum Case
SKU:CAR-86bb52
Protect instruments with the lightweight, watertight Centurion Polaris Z106P Aluminum Case. Customizable closures and panel options, meeting MIL-STD-108 standards.
Regular price
$139.99
Regular price
Sale price
$139.99
Unit price
per
Delivery via Maden
Expect your order to arrive on time.
Secure Payments
All orders are processed through a secure, PCI-compliant checkout.



The Centurion Polaris Z106P Case is the epitome of lightweight and watertight instrument protection. Featuring deep drawn aluminum shells with wrinkle-free surfaces and sturdy constructions, these cases are ideal for safeguarding instruments and valuables. With customizable options like closures, latches, handles, and panel mounting flanges, this case ensures maximum protection and flexibility for various applications. The gasketed closures with interlocking extrusions guarantee a tight seal, meeting MIL-STD-108 watertight standards. Customization options include engraving, marking, labeling, and panel fabrication, making this case a versatile and reliable choice for demanding environments.
Product Specifications
Case Features Case Features
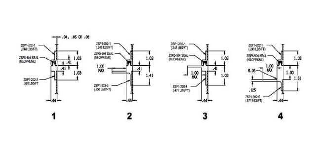
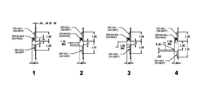
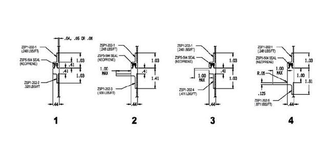
Case Shell: Watertight construction of deep drawn seamless shellsAvailable in 10 standard sizes. Instrument panels and choice of mounting flangesGasketed Closures: Closure features interlocking tongue and groove extrusion of 6063-T1 aluminum, permitting maximum sealing and alignment of two halves.Flexibility: Separable Hinges to Remove CoverColors: Light gray, yellow, strata blue, olive drab or special orderPanel Fabrication: Silk-screening, engraving, custom fabricationCase Customization: Stenciling, designation printing, decals, labels
Note Note
Hinged inner lids available as special order item.
Specifications Dimension D
7.460 in
Specifications Dimension E
2.680 in
Specifications Dimension F
2.250 in
Specifications Dimension G
7.130 in
Specifications Dimension H
0.120 in
Specifications Dimension R1
1.25 in
Specifications Dimension R2
1.25 in
Specifications Dimension R3
6.50 in
Specifications Dimension R4
1.25 in
Specifications Inside Maximum C
4.81 in
Specifications Inside Minimum C
2.78 in
Specifications Made In
USA
Specifications Mat Thickness
.051 in
Specifications Options
Custom Engraving, Marking and Labeling | Hinged Inner Lids | Mil-Spec Finishes | Panel Fabrication | Panel Mounting Flange
Specifications Outside Length
21.00 in
Specifications Outside Width
17.00 in
Specifications Panel Options
ZP21622-9
Specifications Standard Availability
8 Weeks
Specifications Watertight Standard
MIL-STD-108 except to 0.50 PSI