Contractors Pressure Blast Pot Rain Cap
Contractors Pressure Blast Pot Rain Cap
SKU:CLE-4496bd
High-performance Contractors Pressure Blast Pot Rain Cap for efficient and safe blasting operations.
Regular price
$58.00
Regular price
Sale price
$58.00
Unit price
per
Delivery via Maden
Expect your order to arrive on time.
Secure Payments
All orders are processed through a secure, PCI-compliant checkout.

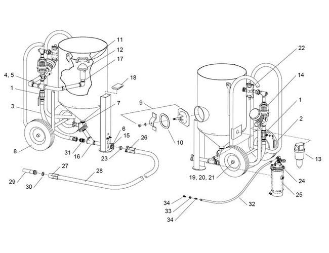
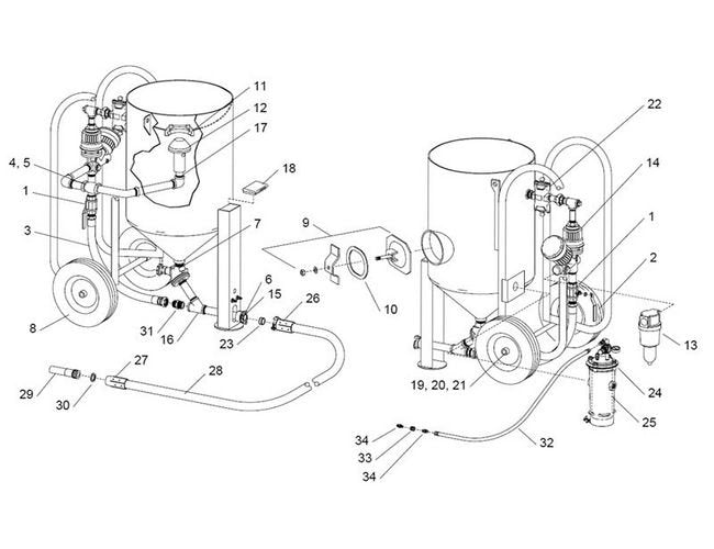
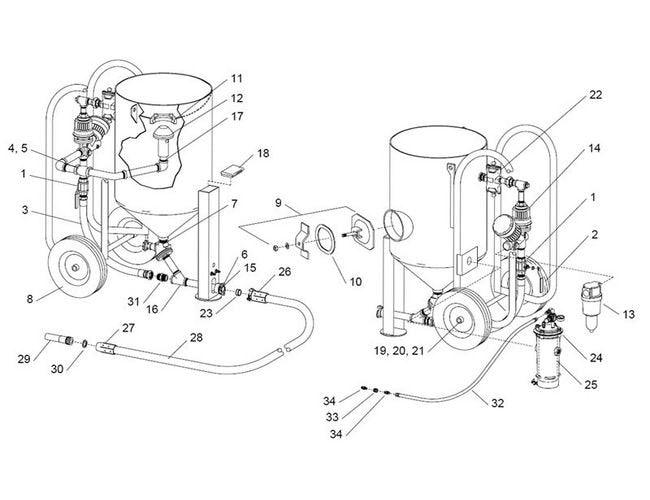
The Contractors Pressure Blast Pot Rain Cap is a field portable, high-production blast machine designed for single-operator use. Rated at 150 psi, this pot holds 2 cubic feet of blast media for efficient blasting operations. It comes equipped with Millennium pneumatic remote controls and Quantum manual metering valve, ensuring precise and controlled blasting performance. The rain cap serves as a manual tube cover, enhancing safety and efficiency during operation.
Product Specifications
Specifications Drawing Reference No
18
Specifications List Price
58.00 USD
Specifications Part
Rain cap (manual tube cover)