Explosion-Proof H6000-Type Surface Mounting Housing
Explosion-Proof H6000-Type Surface Mounting Housing
SKU:H60-081cbc
Secure and durable explosion-proof surface mount housing for hazardous environments. NEMA 4/3R compliant.
Regular price
$1,299.99
Regular price
Sale price
$1,299.99
Unit price
per
Delivery via Maden
Expect your order to arrive on time.
Secure Payments
All orders are processed through a secure, PCI-compliant checkout.



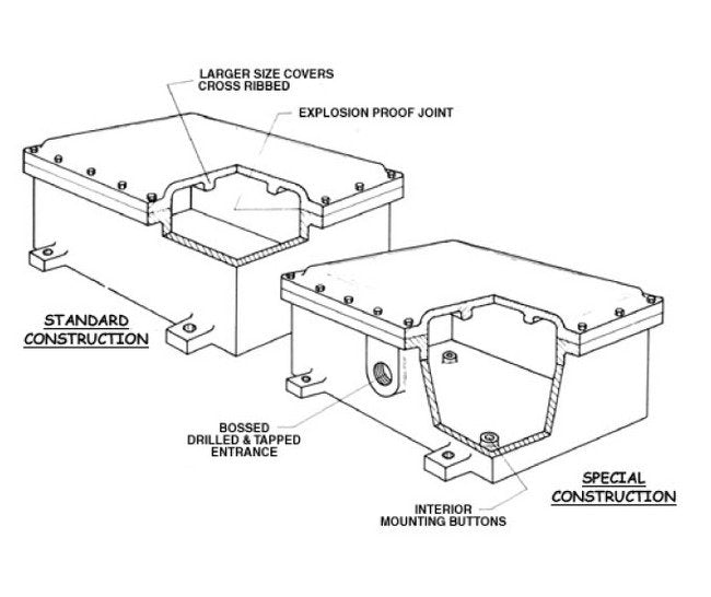
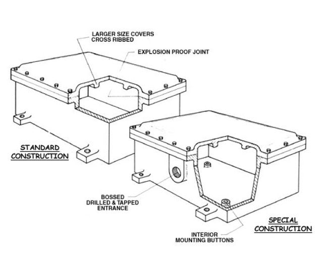
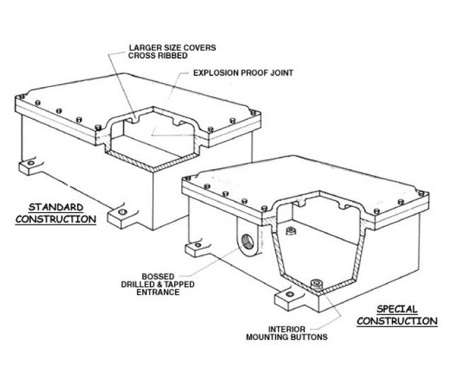
The Explosion-Proof H6000-Type Surface Mounting Housing is designed for hazardous locations, meeting NEMA 4 and 3R standards. Constructed of cast iron with precision machined surfaces, it features a secure metal-to-metal joint, making it ideal for pull and junction services in volatile environments such as gasoline refineries and chemical plants. With a weight of 475 lbs and a wall thickness of 1/2 in., this housing ensures robust protection for devices. Suitable for Class I, groups C and D hazardous locations, this housing is manufactured to UL standards.
Product Specifications
Specifications Approx Wall Thickness
1/2 in.
Specifications Approx Weight
475 lbs
Specifications Construction
cast iron
Specifications Inside Depth
18 in.
Specifications Inside Length
24 in.
Specifications Inside Width
18 in.
Specifications Mounting
Surface
Specifications Stock Note
If you donât see a box size listed that you need, please inquire - we may have it. This list does not represent all of our boxes.
Specifications Type
H6000