Heavy-Duty USS Flat Washer 5/16 Inch - Carbon Steel Plain Finish
Heavy-Duty USS Flat Washer 5/16 Inch - Carbon Steel Plain Finish
SKU:TRA-068321
Robust 5/16” Heavy-Duty USS Flat Washer in Carbon Steel with Plain Finish for industrial strength fastening needs.
Regular price
$24.99
Regular price
Sale price
$24.99
Unit price
per
Delivery via Maden
Expect your order to arrive on time.
Secure Payments
All orders are processed through a secure, PCI-compliant checkout.





The Heavy-Duty USS Flat Washer in 5/16 inch size is designed for robust fastening applications. Constructed from durable carbon steel with a plain finish, this washer ensures reliable performance under heavy loads. With a weight of 1.15 lb per hundred pieces, it offers strength and stability. This washer is ideal for industrial, construction, and mechanical applications, meeting stringent quality standards for secure fastening solutions.
Product Specifications
Additional Information Additional Information
Photo based operating manual for conversion of machinePicture and text based fault diagnosisTeleservice for measuring and control system
Commutator Armature Commutator Armature Diameter
24 to 82 mm
Commutator Armature Commutator Armature Length
69 to 250 mm
Commutator Armature Commutator Armature Weight
0.1 to 2 kg
Commutator Armature Stack Height
12 to 65 mm
Correction Methods Correction Methods
Profile milling:Polar unbalance correction at the correct angle, suitable for most applications.Polar slot-milling:The milling spindle with twin cutter is displaced axially to shift the effect of the milling operation to the polar direction of the unbalance.Slot-milling:A variable method for quasi-polar or component correction. High flexibility through employment of single or multiple cutters and adaptation of the component angle.All correction methods can be used for armatures with inclined or straight stack slots. In addition to material removal by plunge milling, weight removal can be increased by controlled axial cutter advancing.
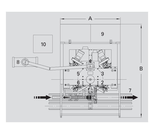
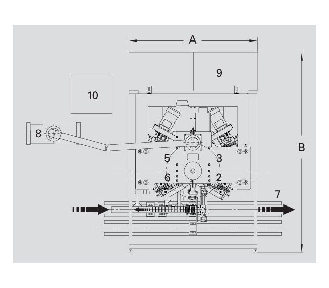
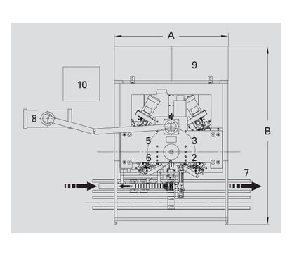
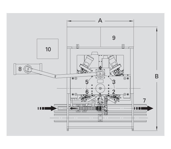
Design Design
Six-station machine with fully automatic sequence of operations. Station-to-station transfer and integration with peripheral equipment through integrated rotary transport.Work-pieces can be delivered to the machine by conveyor or pallet.
Machine Machine Depth B
2600 mm
Machine Machine Height C
2780 mm
Machine Machine Width A
1660 mm
Machine Note For Machine Dimensions
Data non-binding, dependent on the respective equipment supplied
Options Chip Extractor Order Number
R0210104.01
Options Options
Chip-Extractor
Range Of Application Range Of Application
Measurement and correction of unbalance of armatures of various sizes.Application of the machine in production lines for large rotor volumes.Unbalance correction by milling into the stack (profile/slot milling) in one or two planes.
Specifications Achievable Tolerance
0.4 g/mm
Technical Data Air Consumption
3 m³/h
Technical Data Air Pressure
450 kPa
Technical Data Balancing Speed
1500 to 2100 min-1
Technical Data Basic Machine Order Number
R0210100.01
Technical Data Benefits
Polar profile milling
Technical Data Brands
SCHENCK
Technical Data Change Over Time
5 to 15 min
Technical Data Cycle Time Axial Milling
5.5 to 6 seconds
Technical Data Cycle Time Plunge Milling
4.5 to 5 seconds
Technical Data Measuring Uncertainty
0.02 to 0.1 g/mm
Technical Data Measuring Unit
CAB 850
Technical Data Power Consumption
15 kV·A