High Pressure Portable Hydrostatic Test Pump - 17 Inch Length, 938-96 Series
High Pressure Portable Hydrostatic Test Pump - 17 Inch Length, 938-96 Series
SKU:HIG-a9830f
Fast, safe, and efficient 17" High Pressure Hydrostatic Test Pump for versatile testing applications.
Regular price
$1,899.99
Regular price
Sale price
$1,899.99
Unit price
per
Delivery via Maden
Expect your order to arrive on time.
Secure Payments
All orders are processed through a secure, PCI-compliant checkout.

The 938-96 Series 17 Inch High Pressure Portable Hydrostatic Test Pump is a reliable solution for fast and safe hydrostatic testing. Featuring a maximum outlet pressure of 10,000 psi and a pressure ratio of 97:1, this pump is ideal for a variety of applications. With built-in features like a filter, regulator, lubricator, and a high-pressure system bleed valve, this pump offers ease of use and accuracy. The heavy-duty enclosure with integral wheels and handle ensures portability, making it convenient for on-site testing. Whether used with plugs or standalone, this pump is a versatile and efficient choice for all hydrostatic testing needs.
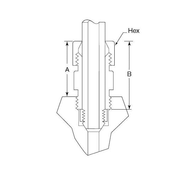
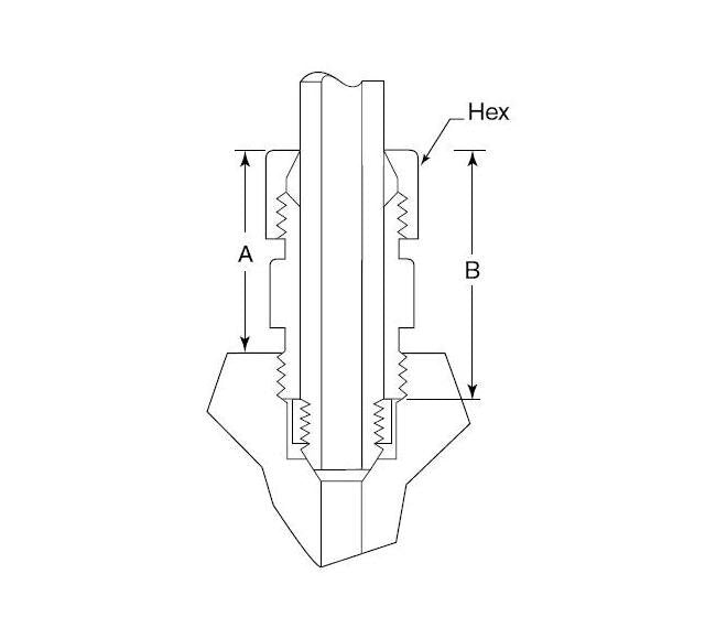
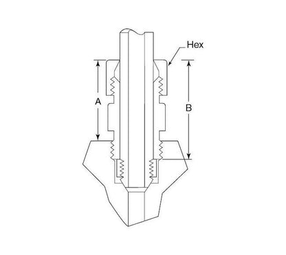
Product Specifications
Specifications A Height
1.38 in | 34.92 mm
Specifications B Height
1.88 in | 47.62 mm
Specifications Hex
0.75 in | 19.05 mm
Specifications Outside Diameter Tubing Size
7.94 mm | 5/16 in
Specifications Part
Collet body