Petersen® 938-7 Series 3-Inch Dial Gauge 0-30 inHg
Petersen® 938-7 Series 3-Inch Dial Gauge 0-30 inHg
SKU:HIG-fd81d8
Accurate and durable 3-inch dial gauge measuring 0-30 inHg; ideal for various applications.
Regular price
          
            $49.99
          
      
          Regular price
          
            
              
                
              
            
          Sale price
        
          $49.99
        
      
      
        Unit price
        
          
          
           per 
          
          
        
      
    Delivery via Maden
Expect your order to arrive on time.
Secure Payments
All orders are processed through a secure, PCI-compliant checkout.

                The Petersen® 938-7 Series 3-Inch Dial Gauge offers precision measurement capabilities with a range of 0 to 30 inches of mercury. This replacement part is designed for accuracy and durability, making it ideal for various applications. With a 3-inch dial size, this gauge ensures clear and easy reading, enhancing operational efficiency. Compliance with stringent quality standards makes it a reliable choice for both consumer and institutional buyers.
              
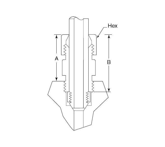
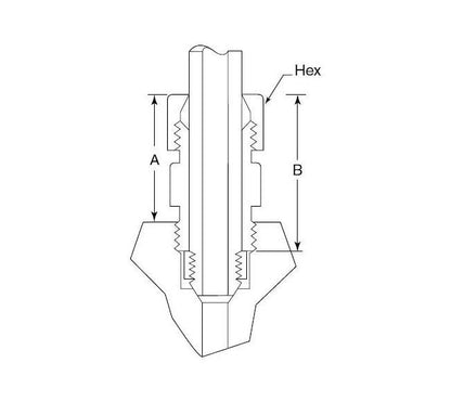
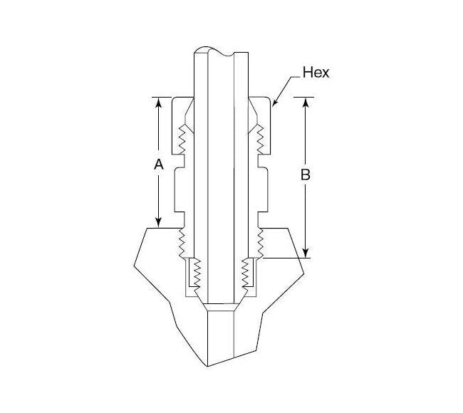
Product Specifications
                  Specifications A Height 
                
                1.38 in | 34.92 mm
              
                  Specifications B Height 
                
                1.88 in | 47.62 mm
              
                  Specifications Hex 
                
                0.75 in | 19.05 mm
              
                  Specifications Outside Diameter Tubing Size 
                
                7.94 mm | 5/16 in
              
                  Specifications Part 
                
                Slotted collet