Suncor 9 Star Cluster LED Light with Loc-Line™ Stalk
Suncor 9 Star Cluster LED Light with Loc-Line™ Stalk
SKU:STA-60b275
Illuminate with precision using the Suncor 9 Star Cluster LED Light with flexible Loc-Line™ stalk, brightening up any space!
Regular price
$29.99
Regular price
Sale price
$29.99
Unit price
per
Delivery via Maden
Expect your order to arrive on time.
Secure Payments
All orders are processed through a secure, PCI-compliant checkout.


Illuminate with precision using the Suncor 9 Star Cluster LED Light with a flexible Loc-Line™ stalk. This self-contained unit boasts nine ultra-bright LEDs in red, yellow, or white colors. Crafted from 316 stainless steel housing, this light is not only durable but also precision cast for top-notch quality. The Suncor exclusive design includes patented features, making it a reliable choice for diverse lighting needs in various settings.
Product Specifications
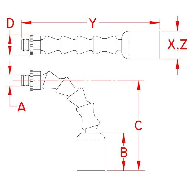
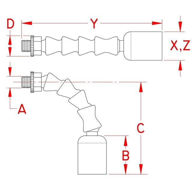
Specifications Dimension A
0.40 in
Specifications Dimension B
1.32 in
Specifications Dimension C
6.50 in
Specifications Dimension D
0.72 in
Specifications Dimension X
1.00 in
Specifications Dimension Y
13.75 in
Specifications Dimension Z
1.00 in
Specifications Fabrication Type
Precision Cast
Specifications Made In
Import
Specifications Material
316 Stainless Steel Housing, Loc-Line™
Specifications Suncor Exclusive
Yes
Specifications Suncor Patent
Yes
Specifications Weight
0.23 lb
CAGE
1CXX6
NAICS
335129
PSC
6220