USS Flat Washer - Carbon Steel, Plain Finish, 1 1/8 in
USS Flat Washer - Carbon Steel, Plain Finish, 1 1/8 in
SKU:TRA-88d633
High-quality USS Flat Washer in Carbon Steel with Plain finish, 1 1/8 in size - ensures durability and compliance with industry standards.
Regular price
$12.99
Regular price
Sale price
$12.99
Unit price
per
Delivery via Maden
Expect your order to arrive on time.
Secure Payments
All orders are processed through a secure, PCI-compliant checkout.





The USS Flat Washer in Carbon Steel features a Plain finish, ideal for heavy-duty applications. With a Size of 1 1/8 inches, this washer belongs to the wide series, providing enhanced load distribution. Crafted from high-quality Carbon Steel, it offers durability and strength, making it suitable for a variety of structural projects. Conforming to industry standards, this USS Flat Washer ensures reliable performance and compliance with government procurement requirements.
Product Specifications
Additional Information Additional Information
Photo based operating manual for conversion of machinePicture and text based fault diagnosisTeleservice for measuring and control system
Commutator Armature Commutator Armature Diameter
24 to 40 mm
Commutator Armature Commutator Armature Length
90 to 190 mm
Commutator Armature Commutator Armature Weight
0.1 to 2 kg
Commutator Armature Stack Height
30 to 50 mm
Correction Methods Correction Methods
Profile milling:Polar unbalance correction at the correct angle, suitable for most applications.Polar slot-milling:The milling spindle with twin cutter is displaced axially to shift the effect of the milling operation to the polar direction of the unbalance.Slot-milling:A variable method for quasi-polar or component correction. High flexibility through employment of single or multiple cutters and adaptation of the component angle.All correction methods can be used for armatures with inclined or straight stack slots. In addition to material removal by plunge milling, weight removal can be increased by controlled axial cutter advancing.
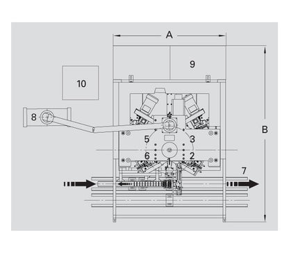
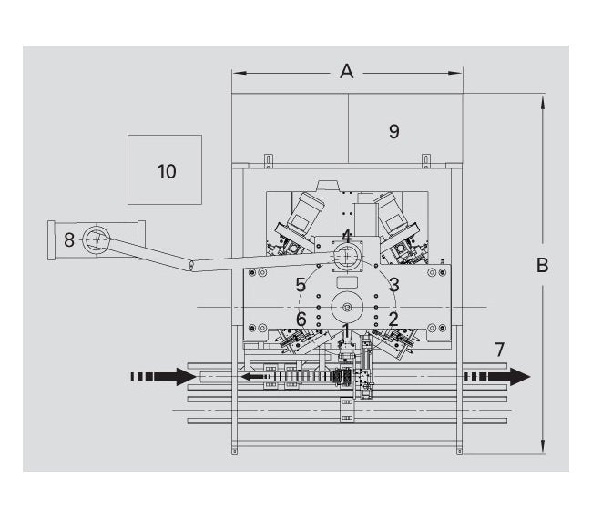
Design Design
Six-station machine with fully automatic sequence of operations. Station-to-station transfer and integration with peripheral equipment through integrated rotary transport.Work-pieces can be delivered to the machine by conveyor or pallet.
Machine Machine Depth B
2600 mm
Machine Machine Height C
2780 mm
Machine Machine Width A
1660 mm
Machine Note For Machine Dimensions
Data non-binding, dependent on the respective equipment supplied
Options Chip Extractor Order Number
R0210304.01
Options Options
Chip-Extractor
Range Of Application Range Of Application
Measurement and correction of unbalance of armatures of various sizes.Application of the machine in production lines for large rotor volumes.Unbalance correction by milling into the stack (profile/slot milling) in one or two planes.
Specifications Achievable Tolerance
0.2 g/mm
Technical Data Air Consumption
3 m³/h
Technical Data Air Pressure
450 kPa
Technical Data Balancing Speed
1800 to 2100 min-1
Technical Data Basic Machine Order Number
R0210300.01
Technical Data Benefits
Polar slot milling
Technical Data Brands
SCHENCK
Technical Data Change Over Time
5 to 15 min
Technical Data Cycle Time Axial Milling
5.5 to 6 seconds
Technical Data Cycle Time Plunge Milling
4.5 to 5 seconds
Technical Data Measuring Uncertainty
0.02 to 0.1 g/mm
Technical Data Measuring Unit
CAB 850
Technical Data Power Consumption
15 kV·A