USS Flat Washer - Plain Carbon Steel 1/4 in
USS Flat Washer - Plain Carbon Steel 1/4 in
SKU:TRA-c9388e
High-quality USS Flat Washer made of carbon steel with 1/4 in size, offers durability and reliability for various applications.
Regular price
$1.99
Regular price
Sale price
$1.99
Unit price
per
Delivery via Maden
Expect your order to arrive on time.
Secure Payments
All orders are processed through a secure, PCI-compliant checkout.





The USS Flat Washer is a crucial component designed to distribute the load of threaded fasteners, preventing damage and ensuring a secure connection. Made of high-quality carbon steel with a plain finish, this washer is durable and resistant to corrosion, ideal for a wide range of applications. Measuring 1/4 inch, it meets stringent industry standards for reliability and performance, making it a dependable choice for both consumer and institutional buyers.
Product Specifications
Additional Information Additional Information
Photo based operating manual for conversion of machinePicture and text based fault diagnosisTeleservice for measuring and control system
Commutator Armature Commutator Armature Diameter
24 to 40 mm
Commutator Armature Commutator Armature Length
90 to 190 mm
Commutator Armature Commutator Armature Weight
0.1 to 2 kg
Commutator Armature Stack Height
30 to 50 mm
Correction Methods Correction Methods
Profile milling:Polar unbalance correction at the correct location, suitable for most applications.Polar slot-milling:The milling spindle with twin cutter is displaced axially to shift the effect of the milling operation to the polar direction of the unbalance.Slot-milling:A variable method for quasi-polar or component correction. High flexibility through employment of single or multiple cutters and adaptation of the component angle.All correction methods can be used for armatures with inclined or straight stack slots. In addition to material removal by plunge milling, weight removal can be increased by controlled axial cutter advancing.
Design Design
Four-station machine with fully automatic sequence of operations. Station-to-station transfer and integration with peripheral equipment through integrated rotary transfer system.Work-pieces can be delivered to the machine by conveyor belt or on pallets.
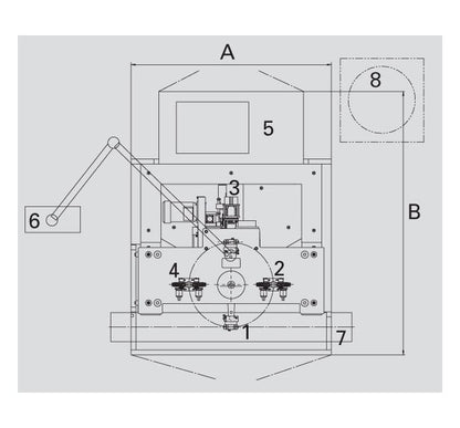
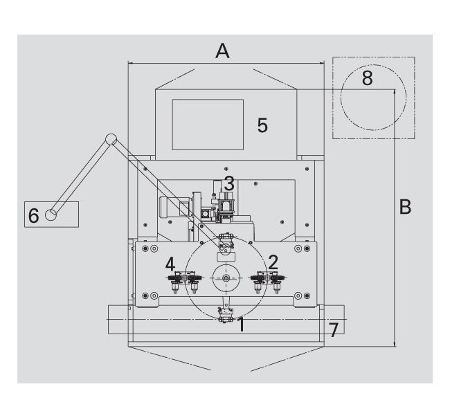
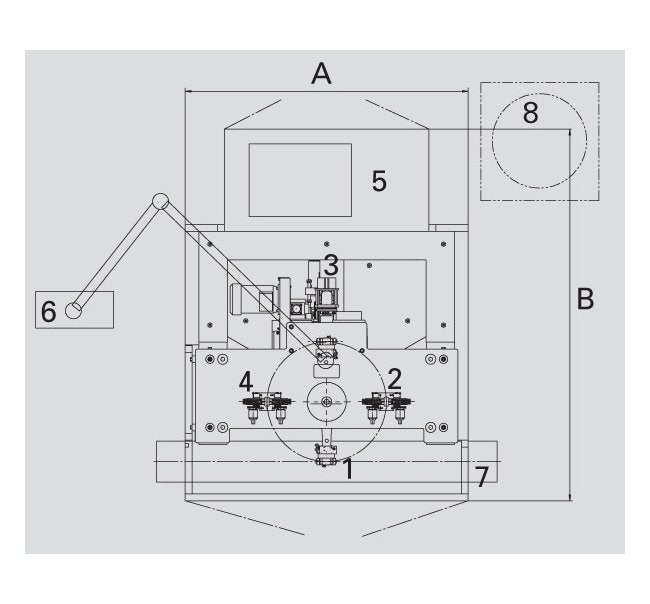
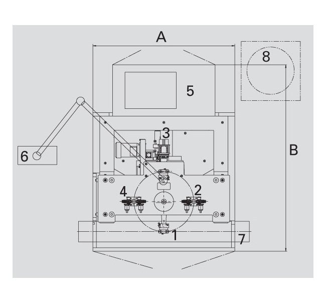
Machine Machine Depth B
2700 mm
Machine Machine Height C
2780 mm
Machine Machine Width A
1720 mm
Machine Note For Machine Dimensions
Data non-binding, dependent on the respective equipment supplied
Options Chip Extractor Order Number
R0190304.01
Options Measuring Unit Order Number Cab 850
R0190301.01
Options Options
Axial Clamping in the Milling Station | Chip-Extractor | Compact Swiveling Gripper | Measuring Unit (CAB 850) | Unloading Equipment with OT Belt
Options Unloading Equipment Order Number With Ot Belt
R0190307.01
Range Of Application Range Of Application
Measurement and correction of unbalance of armatures of various sizes.Application of the machine in production lines for large rotor volumes.Unbalance correction by milling into the stack (profile/slot milling) in one or two planes.
Technical Data Achievable Tolerance
0.2 g/mm
Technical Data Air Consumption
2.5 m³/h
Technical Data Air Pressure
450 kPa
Technical Data Balancing Speed
1800 to 2100 min-1
Technical Data Basic Machine Order Number
R0190300.01
Technical Data Benefits
Polar slot milling
Technical Data Brands
SCHENCK
Technical Data Change Over Time
5 to 15 min
Technical Data Cycle Time Axial Milling
6 to 8 seconds
Technical Data Cycle Time Plunge Milling
6 seconds
Technical Data Measuring Uncertainty
0.02 to 0.1 g/mm
Technical Data Measuring Unit
CAB 850
Technical Data Power Consumption
12 kV·A