USS Flat Washer - Zinc/Clear 7/16 inch Carbon Steel
USS Flat Washer - Zinc/Clear 7/16 inch Carbon Steel
SKU:TRA-27d6f4
High-quality USS Flat Washer in Zinc/Clear finish, 7/16 inch size, carbon steel material - ideal for diverse fastening applications.
Regular price
$12.99
Regular price
Sale price
$12.99
Unit price
per
Delivery via Maden
Expect your order to arrive on time.
Secure Payments
All orders are processed through a secure, PCI-compliant checkout.





The USS Flat Washer in Zinc/Clear finish is designed to meet the needs of both industrial and consumer applications. This flat washer, part of the Wide Series, features a size of 7/16 inch, making it suitable for various fastening tasks. Crafted from sturdy carbon steel, it offers durability and reliability in securing connections. With a weight of 2.44 lb per hundred pieces, this washer ensures stability and support in mechanical assemblies. Compliant with industry standards, this USS Flat Washer is a dependable choice for your fastening needs.
Product Specifications
Additional Information Additional Information
Photo based operating manual for conversion of machinePicture and text based fault diagnosisTeleservice for measuring and control system
Commutator Armature Commutator Armature Diameter
24 to 66 mm
Commutator Armature Commutator Armature Length
90 to 250 mm
Commutator Armature Commutator Armature Weight
0.1 to 2 kg
Commutator Armature Stack Height
30 to 65 mm
Correction Methods Correction Methods
Profile milling:Polar unbalance correction at the correct location, suitable for most applications.Polar slot-milling:The milling spindle with twin cutter is displaced axially to shift the effect of the milling operation to the polar direction of the unbalance.Slot-milling:A variable method for quasi-polar or component correction. High flexibility through employment of single or multiple cutters and adaptation of the component angle.All correction methods can be used for armatures with inclined or straight stack slots. In addition to material removal by plunge milling, weight removal can be increased by controlled axial cutter advancing.
Design Design
Four-station machine with fully automatic sequence of operations. Station-to-station transfer and integration with peripheral equipment through integrated rotary transfer system.Work-pieces can be delivered to the machine by conveyor belt or on pallets.
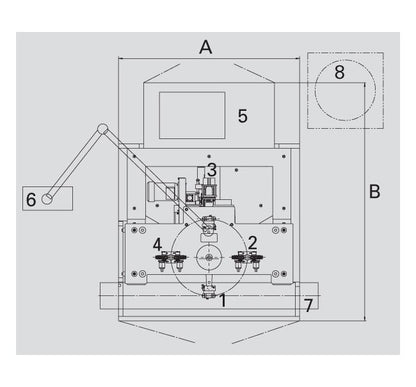
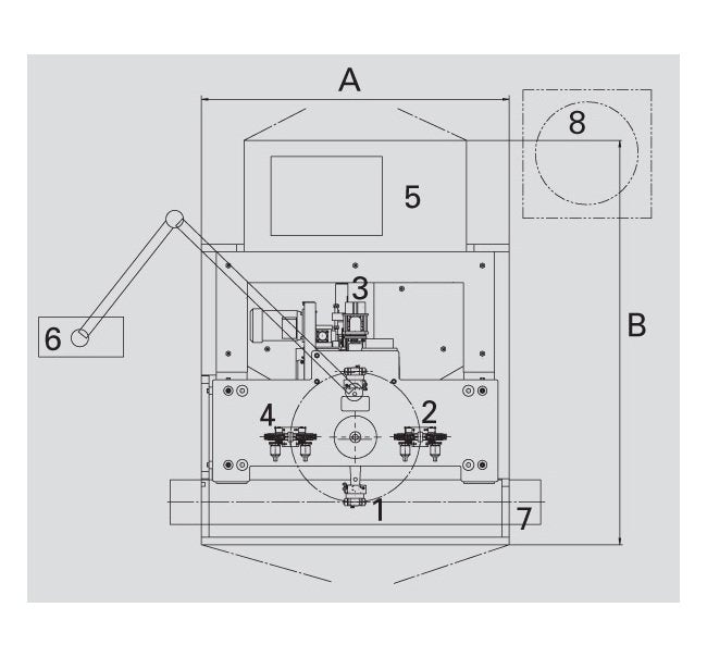
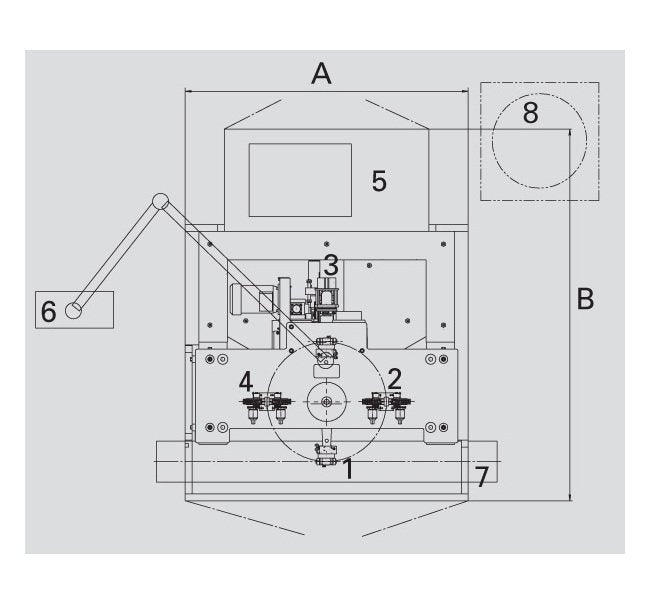
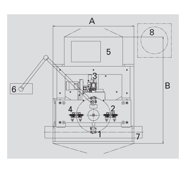
Machine Machine Depth B
2700 mm
Machine Machine Height C
2780 mm
Machine Machine Width A
1720 mm
Machine Note For Machine Dimensions
Data non-binding, dependent on the respective equipment supplied
Options Axial Clamping In The Milling Station Order Number
R0190209.01
Options Chip Extractor Order Number
R0190204.01
Options Measuring Unit Order Number Cab 850
R0190201.01
Options Mill Slot Recognition Measuring Station Order Number
R0190203.01
Options Options
Axial Clamping in the Milling Station | Chip-Extractor | Compact Swiveling Gripper | Measuring Unit (CAB 850) | Mill Slot Recognition, Measuring Station | Pneumatic Sliding Spindle | Unloading Equipment with OT Belt
Options Unloading Equipment Order Number With Ot Belt
R0190207.01
Range Of Application Range Of Application
Measurement and correction of unbalance of armatures of various sizes.Application of the machine in production lines for large rotor volumes.Unbalance correction by milling into the stack (profile/slot milling) in one or two planes.
Technical Data Achievable Tolerance
0.1 g/mm
Technical Data Air Consumption
2.5 m³/h
Technical Data Air Pressure
450 kPa
Technical Data Balancing Speed
1500 to 2100 min-1
Technical Data Basic Machine Order Number
R0190200.01
Technical Data Benefits
Slot milling in components
Technical Data Brands
SCHENCK
Technical Data Change Over Time
5 to 15 min
Technical Data Cycle Time Axial Milling
8 to 10 seconds
Technical Data Cycle Time Plunge Milling
8 seconds
Technical Data Measuring Uncertainty
0.02 to 0.1 g/mm
Technical Data Measuring Unit
CAB 850
Technical Data Power Consumption
10 kV·A